8月4日消息,據科技媒體Apple Insider上周(7月31日)報道,蘋果最新公布了一項屏幕專利,可利用電腦屏幕內置的傳感器追蹤用戶位置,并通過軟硬協調動態調整屏幕曲率。

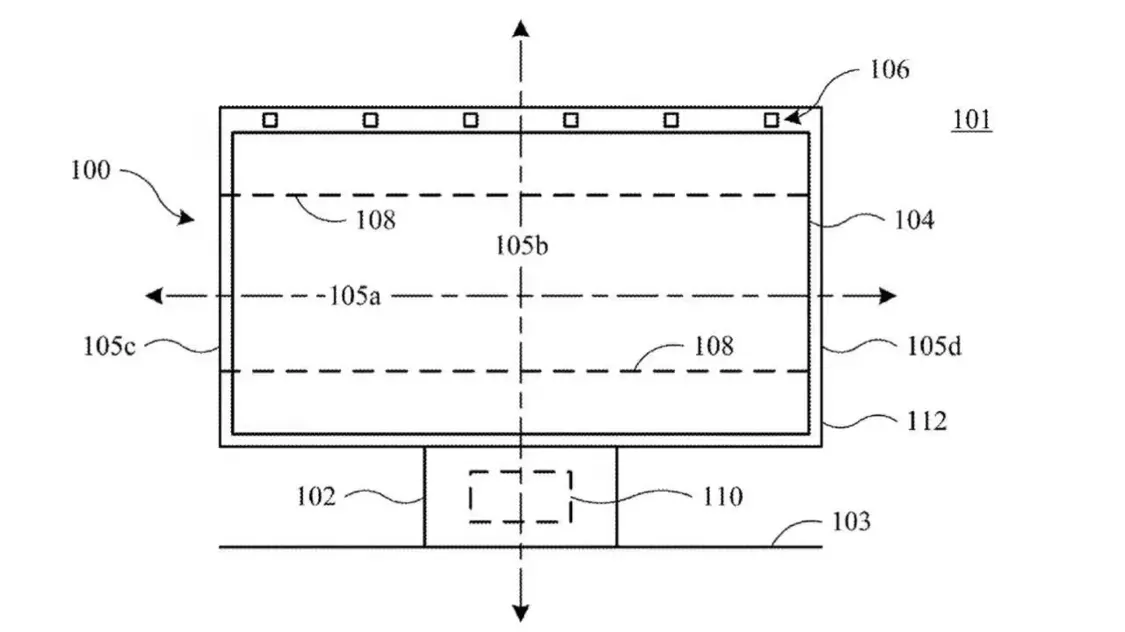
專利發明人共有四位,其中包括Danny L. McBroom,他曾參與2019款Mac Pro電腦的設計。文件中詳細描述了運作詳情:顯示器內置的傳感器會追蹤用戶所處的位置、距離,并根據用戶視角綜合使用應用等動態調整屏幕曲率。
例如當用戶正對屏幕打字、處理表格時,顯示器會調整為純平或輕微彎曲,確保工作內容清晰顯示;當用戶離屏幕較遠且正在玩游戲 / 看視頻時,屏幕可以自動調整成適合娛樂的曲面屏。

此外專利中還提到,屏幕形態也可以由應用程序決定,例如從蘋果 TV + 切換到微軟 Word 時,屏幕會主動優化顯示模式,從曲面屏轉為直屏。
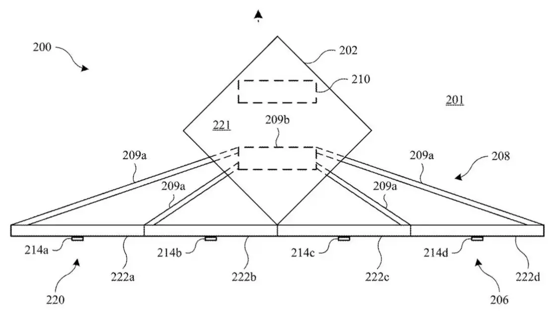
專利還強調了屏幕的兩種形態 ——“展開”和“收納”。屏幕展開后可提供較為寬闊的視野,適合桌上辦公處理;而收納則是通過彎曲或折疊縮小體積,但屏幕仍可以顯示。
不過目前尚不清楚這項專利會應用到什么產品上,蘋果在專利插圖上繪制的顯示器形態很特殊,Apple Insider 認為這項專利最有可能應用到 iMac 上,但專利插圖的屏幕底座形態有點類似 Studio Display,屏幕邊框也有點像蘋果前幾年與 LG 聯合推出的 UltraFine 5K 顯示器。
同時 Apple Insider 基于蘋果在專利中提到“彎曲”和“儲藏”,認為蘋果應該是不打算讓這種屏幕掛墻使用。但這種屏幕在縮小比例后也有可能應用在未來的智能家居中控設備,或者是帶屏幕版 HomePod。